RV减速机作用强大,无惧...
RV减速机作用是相当于多功能机械臂的“关节”,集高精度、大减...
了解详情 +富宝与您分享
前沿减速机知识前沿减速机知识,富宝与您分享
RV减速机作用是相当于多功能机械臂的“关节”,集高精度、大减...
了解详情 +为使行星齿轮减速器在运行过程中达到最佳效果,我们需要给齿轮齿...
了解详情 +众所周知,任何设备在运行的过程中都会产生热量,我们的RV减速...
了解详情 +行星减速机以其体积小、传动工作效率高、精度高的优势,而被广泛...
了解详情 +行星减速机的双支撑和行星减速机的单支撑是指齿轮的支撑,即行星...
了解详情 +如何计算行星减速机齿轮承载能力,渐开线少齿差行星减速器相比普...
了解详情 +其实行星减速机在使用过程中即便是质量没有问题,也或多或少会有...
了解详情 +还有就是运动精度较高,谐波齿轮减速机在运行的时候,平稳性较好...
了解详情 +如今的工业生产出现了翻天覆地的变化,大部分的设备都开始向自动...
了解详情 +作为一款优质的新型的传动设备,它的相关工作原理是我们应该格外...
了解详情 +在日常工作运行中,机器人行星减速机最高转动效率为98%,有2%的输...
了解详情 +我们在使用谐波减速器的时候,有时候会遇到需要加速的情况,这个...
了解详情 +说到谐波减速机,熟悉它的人都知道它相对于其它减速器来说,拥有...
了解详情 +高精密减速机有时会出现一些突发问题,就是它的温度有可能过高,...
了解详情 +如果使用不恰当的润滑剂,不仅起不到充分的润滑和保护作用,还会...
了解详情 +机械设备的轴类零件,特别是减速器轴,一般都与交叉滚子轴承或柔...
了解详情 +行星减速机具有高刚性、高精度(单级背隙最低可达1弧分以内)、高...
了解详情 +行星减速机在现代工业设备中常用于精密控制领域上,与伺服马达搭...
了解详情 +行星减速机?的齿轮间隙精度直接影响工作效率和使用寿命。为了更...
了解详情 +在伺服行星减速机的一些技术文件或者交流文件中,我们经常会看到...
了解详情 +在自动化行业,行星减速机作为第二个要使用的通用机械设备,如何...
了解详情 +行星减速机的防锈层是挥发性可燃气体,如何做到行星减速机的?;?..
了解详情 +行星减速机装配安装注意事项:收到减速器时检查;包装是否完整;...
了解详情 +摆线减速机传动的主要零部件:输入轴,双偏心套,转臂轴承,摆线...
了解详情 +行星减速机?进行传动包括了普通的行星齿轮机构传动、少齿差行星...
了解详情 +?行星齿轮减速机发热原因有很多,下面小编给大家汇总了一些有可...
了解详情 +?在减速机中,其核心传动零件为齿轮传动。齿轮传动在工业产品中...
了解详情 +润滑问题经?;岬贾掳谙呒跛倩⑷群驮胍舸蟮奈侍猓蠡凸嗟?..
了解详情 +减速机的种类很多,按照传动类型可分为齿轮减速机、蜗杆减速机和...
了解详情 +圆柱齿轮减速机应用是RV减速机中最广泛的、应用场合最多的一减...
了解详情 +行星减速机齿轮故障的原因有哪些呢?下面小编给大家整理一下:
了解详情 +减速机底部机体振动的原因一遍是减速机支承不当、底座平面不稳定...
了解详情 +行星减速机齿轮润滑的基本作用是尽可能地保持啮合的齿表面分离,...
了解详情 +缺点: 1、精度差。 轴连接过多,需要多达三处的轴连接,轴与轴...
了解详情 +提高减速机精度的方法也存在着一些问题: 一是其零件的精度要求...
了解详情 +在摆线针型减速机中,为减少机械磨损,需要定期向摆线针型减速机...
了解详情 +精密传动行星齿轮减速机不稳定的原因之一是齿轮之间留有一定的间...
了解详情 +与行星减速机搭配组合的伺服电机作为数控机床的主要组成部分,所...
了解详情 +行星减速机的传动机构的连接方式是和输出法兰一样,由输入端向输...
了解详情 +谐波减速机传动轴应用及原理和电机差不多,可以直接连接到机械部...
了解详情 +1、在太阳轮和行星轮连接在齿环内侧转动时,太阳轮、行星轮以及齿...
了解详情 +行星减速机的功能是在降低与之相连接的电机的转速的同时输出更大...
了解详情 +减速机使用常见问题,使用中有哪些常见的故障? 一、在使用减速...
了解详情 +摆线针轮减速机全部传动装置可分为三个部分:输入部分、减速部分...
了解详情 +在减速机的选型过程中经常会遇到这么一种情况,四大系列减速机有...
了解详情 +伺服电机减速机经长久运行难免出一些问题,及时就要维修了,下面...
了解详情 +中空旋转平台是一种全新的旋转负载装置,中空旋转平台集高效率、...
了解详情 +选型时应注意:1、确认你的负载额定扭矩要小于 减速机额定输出扭...
了解详情 +直齿行星减速机与斜齿行星减速机都是属于精密行星减速机的种类,...
了解详情 +伺服减速机零件加载断裂是指零件在缓慢递增的或恒定的载荷作用下...
了解详情 +行星减速机齿轮润滑的基本作用是尽可能地保持啮合的齿表面分离,...
了解详情 +挑选好行星齿轮减速机并不代表你的电机就能很好的正常工作了,怎...
了解详情 +精密行星减速机一般和伺服电机搭配安装,目的是为了给伺服电机降...
了解详情 +在购买行星减速机时,我们要了解行星减速机的型号。在行星减速机...
了解详情 +行星减速机积灰多了的话会导致减速机散热不好温度升高,导致功率...
了解详情 +?行星减速机在使用的过程中有时会出现故障,这时我们需要拆卸下...
了解详情 +行星减速机是一种运用广泛的精密传动部件,而里面的零部件时间久...
了解详情 +?行星减速机的精密和高精度是什么概念?行星减速机精度的用专业...
了解详情 +行星减速机的噪音来源主要来自传动齿轮的摩擦、振动和碰撞。怎样...
了解详情 +想要延长行星减速机的使用寿命,那么清洁保养工作是必不可少的,...
了解详情 +在南北朝时期,数学家袓冲之就发明了具有锥齿轮行星差动传动的指...
了解详情 +行星减速机的齿轮传动具有质量小、体积小、传动比大及遵守高(典...
了解详情 +那么行星减速机与蜗轮蜗杆减速机有什么区别?蜗轮蜗杆减速机的主...
了解详情 +在众多的减速机当中,伺服减速机以其高效的工作特点而被广泛应用...
了解详情 +富宝直角减速机采用的是准双曲面减速结构,传动效率达到90%以上,...
了解详情 +行星减速机具有体积小、精度高、回差小、刚度高等特点,被广泛应用...
了解详情 +行星减速机是不带制动的功能的,它是通过大小齿轮以行星的运动方...
了解详情 +伺服减速机的工作原理就是利用各级齿轮传动来达到降速的目的.伺服...
了解详情 +?伺服减速机的保养清洗工作非常重要,不要只用,不保养,这是伺...
了解详情 +目前工业领域中存在多行业传递动力与运动的需求,伺服减速机的应...
了解详情 +富宝中空旋转平台的产品特点有很多,可用于多种旋转运动场合,工...
了解详情 +行星减速机的前景我们应该如何判断?据中国产业调研网发布的2019...
了解详情 +我们一般都在行星减速机中装入建议的型号和数值的润滑脂,行星减...
了解详情 +销售市场上所市场销售的电机分成二种,一种便是前边大家所讲的伺...
了解详情 +行星减速机是机械设备制造领域十分关键的零配件之一,它拥有扩大...
了解详情 +伺服电机与减速机?是老搭档了,伺服电机有不同的种类。伺服电机...
了解详情 +?伺服电机,英文简称:servo motor ,它是指在伺服系统中控制机...
了解详情 +伺服电机与减速机的连接是为了提高转矩。例如当负载很大时,一味...
了解详情 +一般测试RV减速机的速度有两种方法,分别是霍尔效应原理测速法...
了解详情 +行星减速机是我们现在常用的一种传动产品,因其效率高、减速比大...
了解详情 +行星减速机在日常工作中应用得到全面推广,主要原因就是因为确实...
了解详情 +只要你掌握了以下几个小窍门,那么你的行星减速机的寿命就会变得...
了解详情 +中空旋转平台作为一款重要的机械传动配件,和行星减速机一样,在...
了解详情 +目前RV减速机越来越多地在工业机器人中得到使用,日本的纳博特...
了解详情 +对于行星减速机来说,精度一直是衡量减速机质量的很重要一项指标...
了解详情 +行星减速机、电机等设备在使用过程中都很难避免有维修的可能,一...
了解详情 +伺服行星减速机,也是行星减速机的一种,相对其它行星减速机,伺...
了解详情 +如何在行星减速机运行中测量温升?测量减速机各部分的温升可采用...
了解详情 +?行星减速机保养该如何下手?相信各位客户都不陌生,包括:行星...
了解详情 +为什么会出现行星减速机断轴现象呢?首要出现行星减速机?断轴最大...
了解详情 +精密斜齿行星减速机是众多行星减速机中的一种,因为其精度高、噪...
了解详情 +在寒冬里行星减速机的维护与保养要注意保持减速机干净,没有灰尘...
了解详情 +行星减速机的基本传动结构分为太阳齿轮、行星齿轮、内齿轮环、连...
了解详情 +?当我们在使用行星减速机的时候会偶尔遇到摩擦现象,这会导致相...
了解详情 +防锈是行星减速机延长适应寿命的保障,同时也是精密行星减速机正...
了解详情 +行星减速机齿轮精度一直是衡量减速机质量的很重要一项指标。很多...
了解详情 +?在运转过程中,伺服行星减速机振动的情况,富宝科技总结以下几...
了解详情 +行星减速机的主要作用是用来降低速度和增加转矩,被广泛应用于机...
了解详情 +行星减速机在结构上,可以分为直齿轮和斜齿轮结构哦。那么,直齿...
了解详情 +斜齿轮减速机采用最优化,模块组合体系先进的设计理念,具有体积...
了解详情 +行星减速机中行星齿轮传动与普通齿轮传动相比,具有许多独特优点...
了解详情 +行星减速机是利用渐开线行星齿轮传动结构,采用外、内啮合、功率...
了解详情 +行星减速机噪音对工件的平滑度、齿轮的接触精度、齿轮的运动精度...
了解详情 +那么行星减速机摆线轮用两个的意义在哪呢?是为了维持动平衡!行...
了解详情 +行星减速机在主轴上装有一个错位180度的双偏心套,在偏心套上装有...
了解详情 +?当我们使用行星减速机时,我们会遇到摩擦现象,这会导致相关零...
了解详情 +步进电机搭载行星减速器称为步进行星减速机,这是一种运用非常广...
了解详情 +焊接变位机是一种通用、高效的以实现环缝焊接为主的焊接设备???..
了解详情 +很多客户会问到:行星减速机选型最重要是依据是不是满足想要达到...
了解详情 +行星减速机双撑和行星减速机单支撑指的是齿轮的支撑,也就是行星...
了解详情 +?下面,小编给大家分享行星减速机装配步骤,有以下四个步骤:
了解详情 +精密行星减速机的密封应根据工作介质的性质、温度、压力和相对速...
了解详情 +相信大家对于行星减速机的作用再熟悉不过了,行星减速机在自动化...
了解详情 +?行星减速机轴承受损是导致行星减速机过早损坏的原因之一。由于...
了解详情 +怎样才能判断你买到手的行星减速机质量怎么样?注意看看这三个方...
了解详情 +行星减速机选型主要看以下几个参数:减速比、输出扭矩、额定功率...
了解详情 +RV减速机是在传统针摆行星传动的基础上发展出来的,不仅克服了...
了解详情 +?行星减速机最佳两位拍档:伺服电机和步进电机。什么才能称之为...
了解详情 +在了解精密行星减速机的核心部件前,我们先来看看伺服精密行星减...
了解详情 +?单从行星减速机的齿轮而言,直齿行星减速机的行星架既可以做单...
了解详情 +行星减速机主要传动结构为:行星轮、太阳轮、外齿圈。齿轮作为行...
了解详情 +行星减速机在高速运转时在内部腔体所产生的温度会限制输出扭矩和...
了解详情 +有的用戶在设备运行一段时间后,驱动电机的输出轴断了。为什么驱...
了解详情 +行星减速机温度控制,相信大家都不陌生,而控制机身的温度还需要...
了解详情 +移动机器人(AGV)在自动化、灵活性和安全性三个方面的独特优势...
了解详情 +国际机器人联合会(IFR)预计,从2020年到2022年,全球出货量...
了解详情 +谐波齿轮减速器的传动方法是什么?谐波齿轮减速器的传动方法:同...
了解详情 +谐波齿轮减速器的传动方法是什么?谐波齿轮减速器的传动方法:同...
了解详情 +谐波减速器的优缺点谐波齿轮减速器是一种减速装置,由三个基本构...
了解详情 +工业机器人精度的秘诀:RV减速机RV减速机传动是一种全新的传...
了解详情 +减速机同心度精度调整一般的减速机 有斜齿轮减速机(包括平行轴斜...
了解详情 +工业机器人的灵动性离不开高精密RV减速机如今的工业机器人能够...
了解详情 +行星减速机有哪些优势行星减速机是一种采用高端的行星转动原理,...
了解详情 +RV摆线轮减速机传动是机械的一种传动,它是在传统针摆行星传...
了解详情 +90度转角减速机RA系列精密伺服90度转角行星减速机:? 特点:为...
了解详情 +随着机器人的发展,带动了其他行业的发展,尤其是核心零件的应用...
了解详情 +木工机械数控开料机设备为什么都用这家行星减速机一些木工机械数...
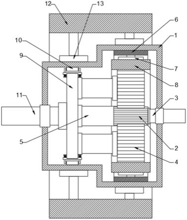
了解详情 +行星减速机内部结构以及运转原理减速机系列中的行星减速机在现代...
了解详情 +力矩、转矩、扭矩,有什么区别?行星齿轮减速机力矩在物理学里是...
了解详情 +RV减速机作为核心零部件的重要组成,精密减速器是工业机器...
了解详情 +行星齿轮减速机随着使用时间的延长,减速机会出现各种故障。据有...
了解详情 +行星减速机跟伺服电机连接注意事项有哪些?下面小编给您讲解。1、...
了解详情 +台湾RA精密伺服直角行星减速机的使用有什么好处?我们都知道...
了解详情 +直角行星减速机是指减速机的输出轴与输入轴成90度的行星减速...
了解详情 +购买行星减速机时对于行星减速机的减速比与精度是需要了解的...
了解详情 +很多朋友在购买伺服行星减速机前都不知道应该如何选型,在伺...
了解详情 +精密行星减速机通过与不同尺寸的齿轮啮合来改变速度。它们具...
了解详情 +行星减速机的应用领域很广泛,而在食品设备领域的应用主要是...
了解详情 +精密行星减速机磨合期是确保减速机正常运行,降低故障率,延...
了解详情 +在减速器系列中,齿轮减速器因其体积小,传动效率高,减速范围宽...
了解详情 +随着弹簧产品多样化的趋势,弹簧机械产品的发展必然要求多功...
了解详情 +对于使用精密行星减速机的新手来说,对于保持精密行星减速机...
了解详情 +日常使用齿轮减速机时,如果齿轮减速机在使用过程中出现串轴...
了解详情 +如果您在购买齿轮减速机方面有经验,我们都应该知道在选择过...
了解详情 +如果您在使用减速机的过程中有了解过它的维护保养内容的话,...
了解详情 +行星减速机不能启动是比较常见的问题。有些朋友遇到这样的问...
了解详情 +当我们使用减速机时,如果减速机出现变形现象会对很多工作产...
了解详情 +当齿轮减速机工作时,润滑油的工作温度不能超过90℃。如果温...
了解详情 +行星减速机不同心断轴这个问题应该如何解决?有些人可能不太明...
了解详情 +减速比,即减速装置的传动比,是指减速机构中瞬时输入速度与...
了解详情 +行星减速机内部高速温度和压力的变化直接影响行星减速机的输...
了解详情 +直角行星减速机在工业上具有广泛的用途,它具有非常好的性能...
了解详情 +如果行星减速机长期不使用或长期在风、太阳地区生锈,锈蚀会...
了解详情 +减速机在运行过程中会有一个加热过程,它的升温问题一直受到...
了解详情 +很多用户在使用或者检修减速机的过程中会发现它经常出现振动...
了解详情 +减速机和齿轮箱与两种减速设备密切相关,减速机包括齿轮箱,...
了解详情 +行星减速机的选型,不仅涉及到减速机型号的选择,还需要通过...
了解详情 +行星减速机和齿轮减速机是两种常见的减速设备,行星减速机和...
了解详情 +齿轮减速机和蜗杆减速机是两种广泛使用的减速设备,两种减速...
了解详情 +行星减速机惯量: 行星减速机转动惯量取决于你电机启停时...
了解详情 +行星减速机是一种十分精密的齿轮传动机构,行星减速机是众多...
了解详情 +正常情况下,行星减速机每天最大转动效率为98%,有2%的输入能...
了解详情 +一般来说,在安装齿轮减速机时,只要严格按照操作流程进行,...
了解详情 +齿轮减速机是一种固定转速的减速机,一旦速比选定,减速机选...
了解详情 +减速机的种类很多,不同行业、不同的机器使用的减速机也是不...
了解详情 +齿轮减速机安装在恶劣的环境条件下,如果吸入空气中含有颗粒...
了解详情 +减速机厂家分享改进减速机轴封结构的技巧有以下5点: 1、...
了解详情 +减速机换油的需要注意事项有以下几点: 1、在运转200~300...
了解详情 +减速机运转过程中,运动副摩擦发热以及受环境温度的影响,使...
了解详情 +对于行星减速机在保养过程中,不同的润滑油是禁止相互混合使...
了解详情 +在机电一体化时代,数控机床的使用已成为一种趋势。过去,数...
了解详情 +减速机的跑合试运行是一种以最少的消耗来获得较好的表面质量...
了解详情 +行星减速机具有体积小、精度高、传动速率高、减速范围宽等优...
了解详情 +行星减速机在传动控制和运行当中,它的齿轮会很容易受到磨损...
了解详情 +行星减速机的齿轮传动装备的重量一般与齿轮重量成正比,齿轮...
了解详情 +精密行星减速机的齿轮是指减速机轮缘上有齿能连续啮合传递运...
了解详情 +机械工业的不断进步,工业减速机的应用,减速机的重要性不容...
了解详情 +行星减速机广泛应用于智能家居传动、工业智能传动、汽车传动...
了解详情 +目前,行星减速机已广泛应用于中国工业的各个领域,行星减速...
了解详情 +WRV-C 型减速机是 2 级减速型。 1、减速部 … 正齿轮...
了解详情 +WRV-E减速机是威腾斯坦减速机旗下的一款行星减速机,具有...
了解详情 +东莞富宝机电科技有限公司是一家专业从事精密传动销售、研发...
了解详情 +伺服行星减速机其小体积、高精度、传动率高、减速范围广等优...
了解详情 +行星圆齿式减速机具备传动效率高、工作平稳、噪声低、重量轻...
了解详情 +今天减速机厂家富宝机电要给大家分享的减速机知识就是:SP...
了解详情 +减速机是什么?对于一些没接触过的人来说,可能第一时间听到减...
了解详情 +谐波减速机在很多工厂生产中起着重要的作用,由于谐波减速机...
了解详情 +何谓行星式减速机? 行星减速机的主要传动结构是:行星轮,太...
了解详情 +一、行星减速机传动原理 行星减速机之传动结构为为目前齿...
了解详情 +人们普遍的都知道行星减速机是可以作为配套应用于起重、挖掘...
了解详情 +减速机在各行各业中广泛应用,并且因为各行业不同,减速机也...
了解详情 +点
击
隐
藏